中国石化获得发明专利授权:“一种催化裂化轻循环油精制催化剂体系及其应用”
2025年11月13日 | 浏览量:73106

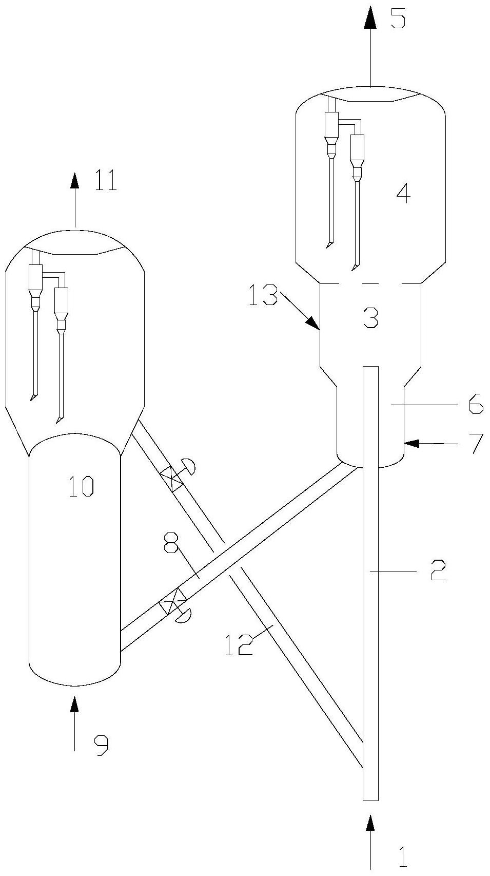
图片来源于网络,如有侵权,请联系删除
证券之星消息,根据天眼查APP数据显示中国石化(600028)新获得一项发明专利授权,专利名为“一种催化裂化轻循环油精制催化剂体系及其应用”,专利申请号为CN202111232428.5,授权日为2025年11月11日。
专利摘要:本发明提供一种催化裂化轻循环油精制催化剂体系及其应用,主要解决以往技术中催化裂化轻循环油精制催化剂单环芳烃选择性与脱氮率的矛盾。本发明提供的催化剂体系具有高单环芳烃选择性和高脱氮率,其分别以Al2O3和Al2O3?SiO2?分子筛多元复合载体为载体,以选自NiO、MoO3、WO3和P2O5中的至少两种为活性组分,在温和的工艺条件下,较好地解决了该问题,可用于生产催化裂化轻循环油精制、提高催化柴油附加值的工业生产中。
今年以来中国石化新获得专利授权3942个,较去年同期减少了7.57%。结合公司2025年中报财务数据,今年上半年公司在研发方面投入了61.86亿元,同比增3.05%。
通过天眼查大数据分析,中国石油化工股份有限公司共对外投资了266家企业,参与招投标项目16763次;财产线索方面有商标信息106条,专利信息90072条,著作权信息1284条;此外企业还拥有行政许可41个。
数据来源:天眼查APP
以上内容为证券之星据公开信息整理,由AI算法生成(网信算备310104345710301240019号),不构成投资建议。
本文来源:财富通途网
本文地址:https://www.ibradsap.com/post/39229.html
关注我们:微信搜索“xiaoqihvlove”添加我为好友
版权声明:如无特别注明,转载请注明本文地址!

