中集集团获得实用新型专利授权:“载运系统及其承载工装”
2025年10月28日 | 浏览量:51627

图片来源于网络,如有侵权,请联系删除
证券之星消息,根据天眼查APP数据显示中集集团(000039)新获得一项实用新型专利授权,专利名为“载运系统及其承载工装”,专利申请号为CN202423160596.X,授权日为2025年10月28日。
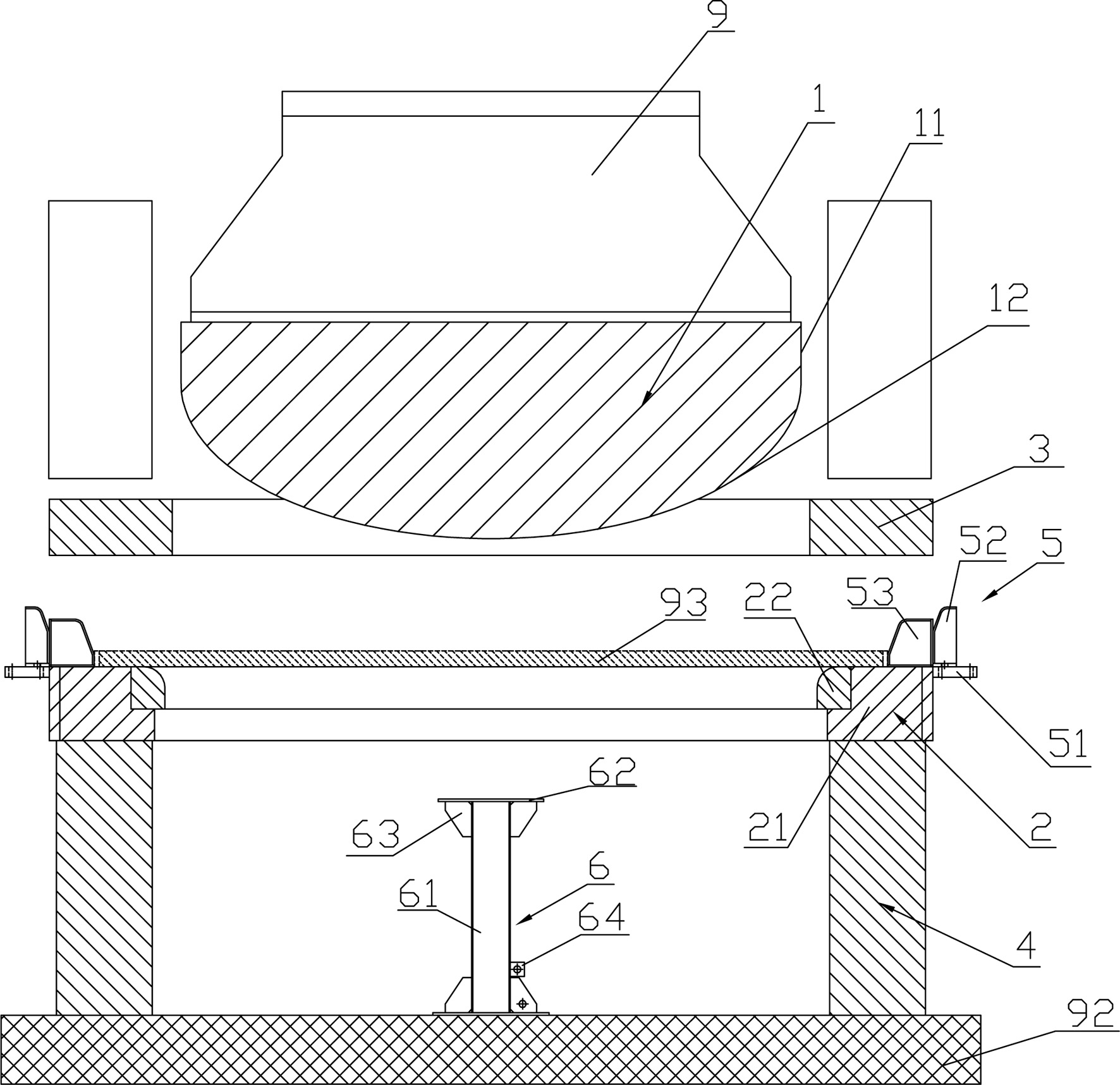
专利摘要:本实用新型提供了一种载运系统及其承载工装。承载工装包括底座、多个承载组件及至少两个牛腿组件。底座包括多个主梁及多个连接架,多个主梁沿纵向间隔分布,相邻两主梁通过一连接架连接。多个承载组件沿纵向间隔设于底座上,各承载组件形成有承载面,多个承载组件的承载面用于共同支撑储罐,且储罐的轴向与纵向相一致。每一牛腿组件对应布置于一主梁上,各牛腿组件的纵向端部向外超出主梁,各牛腿组件的顶部不超出承载面。上述承载工装中,通过多个承载组件以支撑储罐,且牛腿组件能够与运输小车配合以实现承载工装以及储罐的移动,以便于随时对储罐进行场地的转移,以减少储罐合拢时占用场地的周期,提高场地利用率,并增加场地周转能力。

图片来源于网络,如有侵权,请联系删除
今年以来中集集团新获得专利授权420个,较去年同期增加了25.75%。结合公司2025年中报财务数据,今年上半年公司在研发方面投入了11.84亿元,同比增5.18%。
通过天眼查大数据分析,中国国际海运集装箱(集团)股份有限公司共对外投资了24家企业,参与招投标项目57次;财产线索方面有商标信息179条,专利信息5216条,著作权信息60条;此外企业还拥有行政许可25个。
数据来源:天眼查APP
以上内容为证券之星据公开信息整理,由AI算法生成(网信算备310104345710301240019号),不构成投资建议。
本文来源:财富通途网
本文地址:https://www.ibradsap.com/post/38056.html
关注我们:微信搜索“xiaoqihvlove”添加我为好友
版权声明:如无特别注明,转载请注明本文地址!
- •铭普光磁获得发明专利授权:“一种全自动电感绕线设备”
- •京东方A获得发明专利授权:“一种显示面板及显示装置”
- •福鞍股份:承接多个大型水电站关键部件研制工作
- •博众精工获得实用新型专利授权:“一种并行夹爪机构”
- •公牛集团获得实用新型专利授权:“电动操作断路器及其电源电路、储能变流器、储能系统”
- •长安汽车获得发明专利授权:“车辆的自动变道方法、装置、车辆及存储介质”
- •中瑞股份:公司主要从事圆柱锂电池精密安全结构件研发、制造及销售
- •鄂尔多斯获得发明专利授权:“一种双层罗纹领及编织方法、缝制方法、针织面料和服装”
- •工商银行获得发明专利授权:“数据处理方法、服务器、服务节点、系统和存储介质”
- •田中精机获得实用新型专利授权:“一种高速转子组装机构”

