中国电信获得发明专利授权:“基于三维数据的物体识别方法、装置、设备和存储介质”
2025年10月04日 | 浏览量:62489

图片来源于网络,如有侵权,请联系删除
证券之星消息,根据天眼查APP数据显示中国电信(601728)新获得一项发明专利授权,专利名为“基于三维数据的物体识别方法、装置、设备和存储介质”,专利申请号为CN202310827582.X,授权日为2025年10月3日。
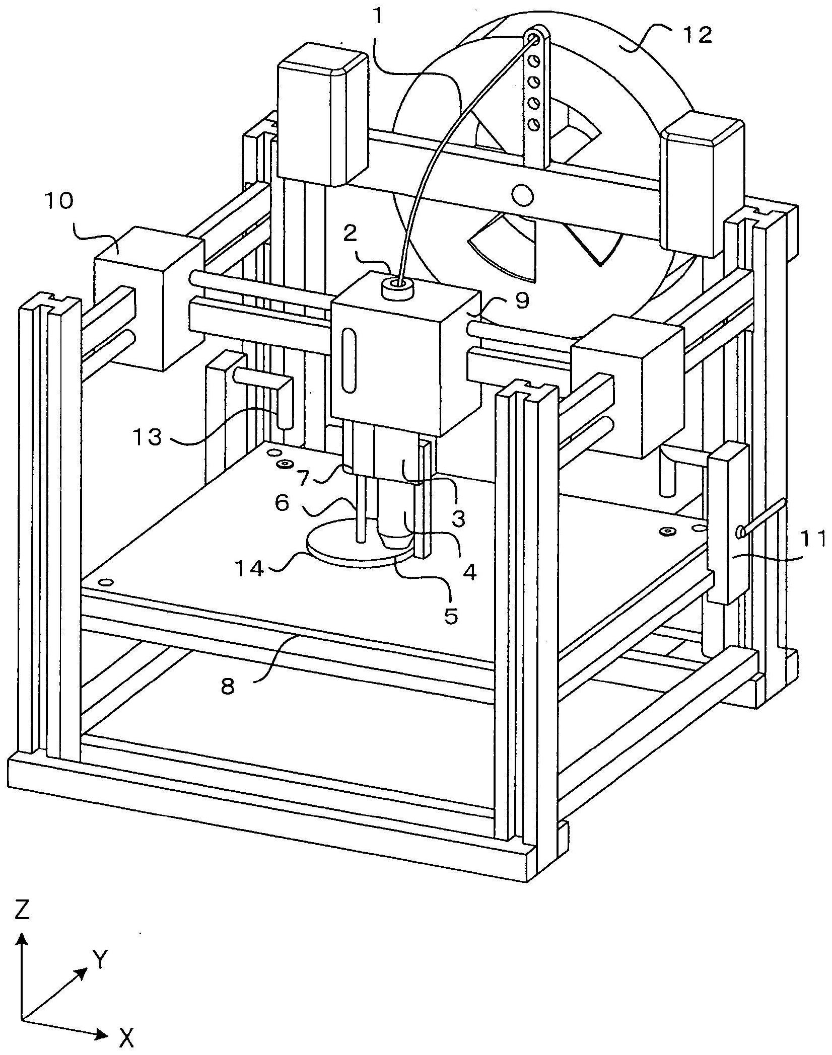
专利摘要:本申请涉及一种基于三维数据的物体识别方法、装置、计算机设备和存储介质。通过基于待拆解码垛中物体的单位高度和码垛高度分布信息,确定待拆解码垛图像中包含目标物体的检索区域;基于目标物体中待转移物体的预设模板图像,确定目标模板图像,并基于检索区域和目标模板图像,确定待转移物体的位置。相较于传统的基于二维图像进行物体识别,本方案通过结合码垛的高度信息对物体的模板图像进行比例调整,基于调整后的模板图像识别待转移物体的位置,提高了物体识别的效率。
今年以来中国电信新获得专利授权924个,较去年同期减少了5.42%。结合公司2025年中报财务数据,今年上半年公司在研发方面投入了47.82亿元,同比增2.65%。
通过天眼查大数据分析,中国电信股份有限公司共对外投资了88家企业,参与招投标项目128479次;财产线索方面有商标信息285条,专利信息17639条,著作权信息7417条;此外企业还拥有行政许可72个。
数据来源:天眼查APP
以上内容为证券之星据公开信息整理,由AI算法生成(网信算备310104345710301240019号),不构成投资建议。
本文来源:财富通途网
本文地址:https://www.ibradsap.com/post/36704.html
关注我们:微信搜索“xiaoqihvlove”添加我为好友
版权声明:如无特别注明,转载请注明本文地址!

