上海汽配获得实用新型专利授权:“一种汽车空调胶管手动解剖辅助装置”
2025年08月19日 | 浏览量:50122

图片来源于网络,如有侵权,请联系删除
证券之星消息,根据天眼查APP数据显示上海汽配(603107)新获得一项实用新型专利授权,专利名为“一种汽车空调胶管手动解剖辅助装置”,专利申请号为CN202422700311.0,授权日为2025年8月19日。
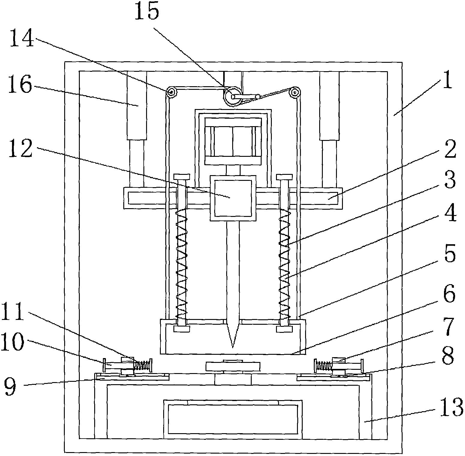
专利摘要:本实用新型公开了一种汽车空调胶管手动解剖辅助装置,包括机架,其特征在于所述机架的一侧设有导入口,另一侧设有与导入口相对应的导出口,在导入口与其对应的导出口之间形成了胶管通道,在胶管通道中部设有刀片,且刀片的刃口朝向导入口,胶管通道的顶部和底部分别设有刀片开口,刀片穿过该刀片开口,所述机架顶部设有用以固定刀片的刀片固定盖,所述机架侧面设有用以锁紧刀片的锁紧螺栓。待解剖胶管手工塞入导入口,并缓缓推入胶管通道至到胶管和前侧板的导入面齐平,然后将胶管从导出口手工拉出,这样就完成了胶管的解剖。本实用新型的优点在于操作方便且避免了操作中的安全隐患。

图片来源于网络,如有侵权,请联系删除
今年以来上海汽配新获得专利授权1个,较去年同期减少了50%。结合公司2024年年报财务数据,2024年公司在研发方面投入了6588.37万元,同比增10.75%。
通过天眼查大数据分析,上海汽车空调配件股份有限公司共对外投资了8家企业,参与招投标项目2次;财产线索方面有商标信息2条,专利信息97条;此外企业还拥有行政许可48个。
数据来源:天眼查APP
以上内容为证券之星据公开信息整理,由AI算法生成(网信算备310104345710301240019号),不构成投资建议。
本文来源:财富通途网
本文地址:https://www.ibradsap.com/post/33750.html
关注我们:微信搜索“xiaoqihvlove”添加我为好友
版权声明:如无特别注明,转载请注明本文地址!

