鹏鼎控股获得发明专利授权:“LED灯板的拼接方法以及LED灯板组件”
2025年08月16日 | 浏览量:71431

图片来源于网络,如有侵权,请联系删除
证券之星消息,根据天眼查APP数据显示鹏鼎控股(002938)新获得一项发明专利授权,专利名为“LED灯板的拼接方法以及LED灯板组件”,专利申请号为CN202110413569.0,授权日为2025年8月15日。
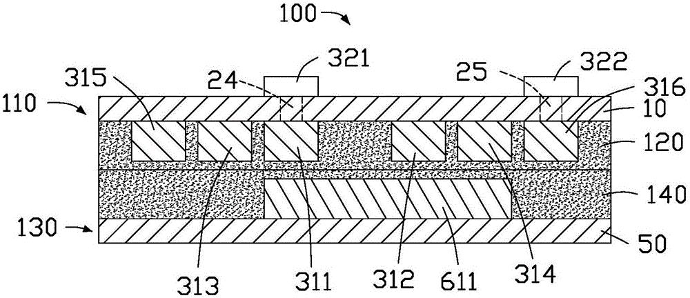
专利摘要:一种LED灯板的拼接方法,包括以下步骤:提供至少两个线路基板,所述线路基板包括第一连接垫以及第二连接垫,每一所述线路基板包括凸伸部、凹陷部以及通孔,所述凸伸部的凸伸方向与所述凹陷部的凹陷方向相同,所述第二连接垫位于所述凸伸部的表面,所述通孔与所述凹陷部连通;将LED与所述第一连接垫连接,形成LED灯板;以及将其中一所述线路基板的所述凸伸部插入另一所述线路基板的所述凹陷部,在所述通孔中形成连接所述第二连接垫的导电体,以使相邻两所述线路基板上的所述LED电连接,从而形成LED灯板组件。本申请还提供一种LED灯板组件。
今年以来鹏鼎控股新获得专利授权34个,较去年同期减少了34.62%。结合公司2025年中报财务数据,今年上半年公司在研发方面投入了10.72亿元,同比减0.63%。
通过天眼查大数据分析,鹏鼎控股(深圳)股份有限公司共对外投资了15家企业,参与招投标项目39次;财产线索方面有商标信息23条,专利信息1516条,著作权信息21条;此外企业还拥有行政许可331个。
数据来源:天眼查APP
以上内容为证券之星据公开信息整理,由AI算法生成(网信算备310104345710301240019号),不构成投资建议。
本文来源:财富通途网
本文地址:https://www.ibradsap.com/post/33674.html
关注我们:微信搜索“xiaoqihvlove”添加我为好友
版权声明:如无特别注明,转载请注明本文地址!

