华达科技获得发明专利授权:“一种管道焊接加工装置”
2025年07月23日 | 浏览量:55484

图片来源于网络,如有侵权,请联系删除
证券之星消息,根据天眼查APP数据显示华达科技(603358)新获得一项发明专利授权,专利名为“一种管道焊接加工装置”,专利申请号为CN202510608709.8,授权日为2025年7月22日。
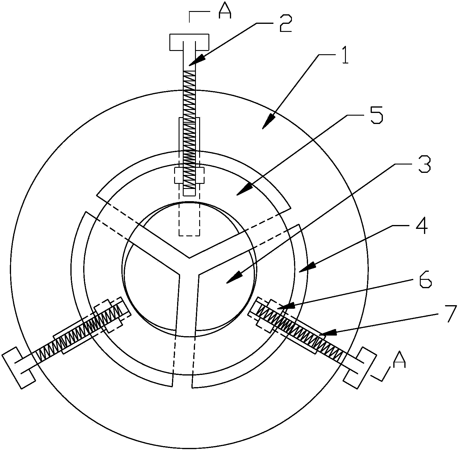
专利摘要:本发明公开了一种管道焊接加工装置,涉及管道焊接技术领域。本发明包括绝缘底板、防护罩、夹持部、标定杆及标定针;夹持部通过伺服电机、摆动调节电缸和夹持辊实现对不同直径管道的稳定夹持,并精确调节管道轴线高度及焊缝端面平行度;标定针与高压发生器配合,通过电弧分布判断管道轴线偏差,辅助标定。装置操作简便,能有效提高管道焊接的对位精度和效率,适用于多种管道直径,显著降低人工调整难度,确保焊接质量,特别适合高精度管道焊接场景。

图片来源于网络,如有侵权,请联系删除
今年以来华达科技新获得专利授权11个,较去年同期增加了120%。结合公司2024年年报财务数据,2024年公司在研发方面投入了2.06亿元,同比增11.68%。
通过天眼查大数据分析,华达汽车科技股份有限公司共对外投资了18家企业,参与招投标项目85次;财产线索方面有商标信息4条,专利信息271条,著作权信息5条;此外企业还拥有行政许可9个。
数据来源:天眼查APP
以上内容为证券之星据公开信息整理,由AI算法生成(网信算备310104345710301240019号),不构成投资建议。
本文来源:财富通途网
本文地址:https://www.ibradsap.com/post/31776.html
关注我们:微信搜索“xiaoqihvlove”添加我为好友
版权声明:如无特别注明,转载请注明本文地址!

