中集集团获得发明专利授权:“低温储罐”
2025年06月28日 | 浏览量:60983

图片来源于网络,如有侵权,请联系删除
证券之星消息,根据天眼查APP数据显示中集集团(000039)新获得一项发明专利授权,专利名为“低温储罐”,专利申请号为CN201910849469.5,授权日为2025年6月27日。
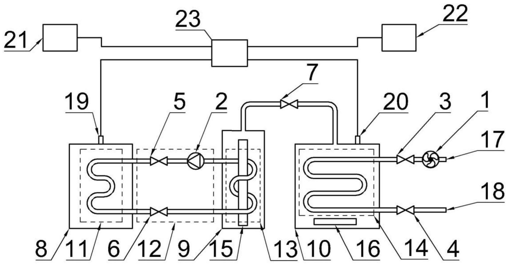
专利摘要:本发明提供了一种低温储罐,包括罐体和分别设于罐体轴向上的两端的支撑结构。其中一个支撑结构包括第一支撑管、第二支撑管和隔热单元。第一支撑管的内周壁上形成有沿周向分布的第一凹槽和与第一凹槽相邻的第一凸起。第二支撑管的外周壁上形成有沿周向分布的第二凹槽和与第二凹槽相邻的第二凸起。第二凹槽与第一凹槽相对。隔热单元形成有至少一个缺口,隔热单元嵌入相对的第一凹槽和第二凹槽中,使得第一凸起和第二凸起卡紧在缺口处,从而限制第一支撑管和第二支撑管之间的相对转动。两点式的支撑结构不仅具有防止内罐转动的效果,还取消了防转管,减少了储罐的漏热量,保证了储罐的安全使用。
今年以来中集集团新获得专利授权239个,较去年同期增加了1.7%。结合公司2024年年报财务数据,2024年公司在研发方面投入了27.09亿元,同比增11.52%。
数据来源:天眼查APP
以上内容为证券之星据公开信息整理,由AI算法生成(网信算备310104345710301240019号),不构成投资建议。
本文来源:财富通途网
本文地址:https://www.ibradsap.com/post/29912.html
关注我们:微信搜索“xiaoqihvlove”添加我为好友
版权声明:如无特别注明,转载请注明本文地址!

