亚厦股份获得发明专利授权:“一种龙骨抱箍连接结构”
2025年06月21日 | 浏览量:78228

图片来源于网络,如有侵权,请联系删除
证券之星消息,根据天眼查APP数据显示亚厦股份(002375)新获得一项发明专利授权,专利名为“一种龙骨抱箍连接结构”,专利申请号为CN202310909596.6,授权日为2025年6月20日。
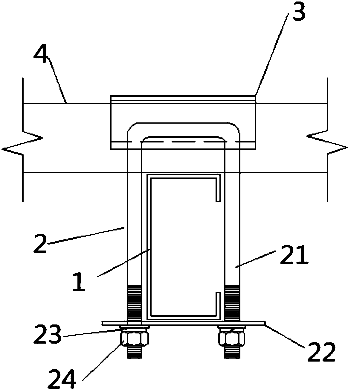
专利摘要:本发明涉及装配式隔墙技术领域,尤其涉及一种龙骨抱箍连接结构。其用于竖向龙骨和斜支撑之间的连接,包括套设于所述斜支撑上的抱环,所述抱环包括第一半环和第二半环,所述第一半环至少有一端部与所述第二半环的端部可拆卸连接,所述竖向龙骨与所述第一半环或/和第二半环连接。本申请中,将竖向龙骨与斜支撑通过抱箍结构连接,抱箍结构仅套设在斜支撑上、而不会对斜支撑造成任何破坏,有效避免了斜支撑上防火涂层的破坏,同时也避免对斜支撑的打钉破坏而造成斜支撑应力失衡、影响框架强度的问题。
今年以来亚厦股份新获得专利授权102个,较去年同期减少了81.82%。结合公司2024年年报财务数据,2024年公司在研发方面投入了3.72亿元,同比减4.37%。
通过天眼查大数据分析,浙江亚厦装饰股份有限公司共对外投资了34家企业,参与招投标项目4413次;财产线索方面有商标信息142条,专利信息7493条,著作权信息44条;此外企业还拥有行政许可53个。
数据来源:天眼查APP
以上内容为证券之星据公开信息整理,由AI算法生成(网信算备310104345710301240019号),不构成投资建议。
本文来源:财富通途网
本文地址:https://www.ibradsap.com/post/29498.html
关注我们:微信搜索“xiaoqihvlove”添加我为好友
版权声明:如无特别注明,转载请注明本文地址!

