楚天科技获得实用新型专利授权:“一种泵盖旋紧装置”
2025年06月18日 | 浏览量:51385

图片来源于网络,如有侵权,请联系删除
证券之星消息,根据天眼查APP数据显示楚天科技(300358)新获得一项实用新型专利授权,专利名为“一种泵盖旋紧装置”,专利申请号为CN202421773198.2,授权日为2025年6月3日。
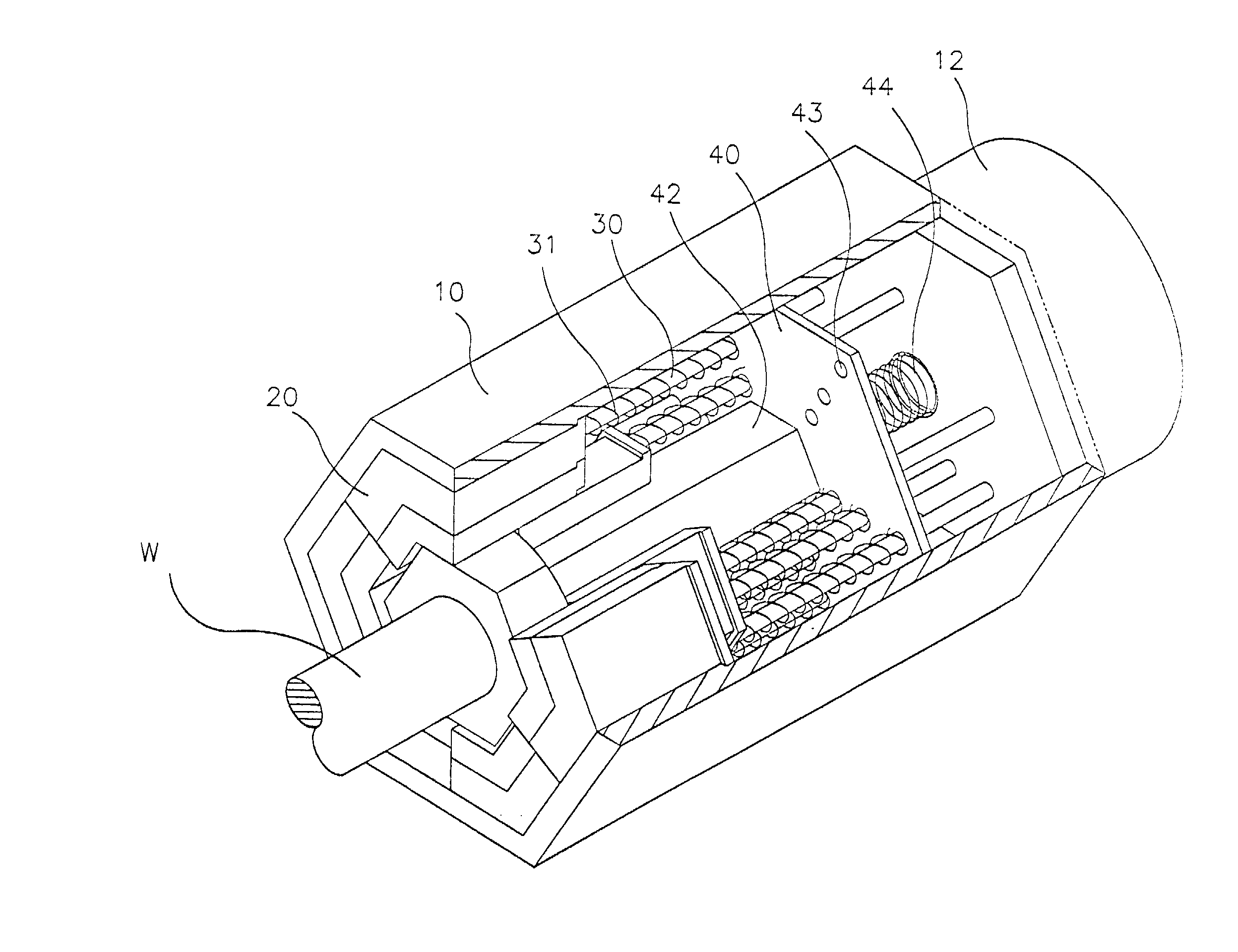
专利摘要:一种泵盖旋紧装置,包括旋盖机构以及依次对接的理泵盖部件、泵盖输送轨道和拨盖转盘,拨盖转盘外周设有多个第一拨盖部且侧边设有防护栏栅,还包括定向盘,定向盘与拨盖转盘的中心线重合,定向盘外周设有多个用于拨动泵盖上的喷管的第二拨盖部,第一拨盖部与所述第二拨盖部沿圆周方向交替分布。泵盖部件将泵盖整理成列并通过泵盖输送轨道输送至拨盖转盘,当泵盖进入拨盖转盘之后,泵盖被第一拨盖部拨走,在旋转过程中下一个泵盖的喷管会被定向盘上的第二拨盖部拨到朝前或者朝后的位置,而喷管已经位于泵盖主体前、后侧的泵盖则可以顺利地从第二拨盖部与防护栏栅之间的间隙通过,从而完成泵盖定向,方便取泵盖,避免抓坏喷管同时有效的将泵盖旋紧。

图片来源于网络,如有侵权,请联系删除
今年以来楚天科技新获得专利授权152个,较去年同期增加了18.75%。结合公司2024年年报财务数据,2024年公司在研发方面投入了6.25亿元,同比增6.41%。
数据来源:天眼查APP
以上内容为证券之星据公开信息整理,由AI算法生成(网信算备310104345710301240019号),不构成投资建议。
本文来源:财富通途网
本文地址:https://www.ibradsap.com/post/29130.html
关注我们:微信搜索“xiaoqihvlove”添加我为好友
版权声明:如无特别注明,转载请注明本文地址!

