比亚迪获得实用新型专利授权:“一种转向管柱、转向系统及车辆”
2025年06月14日 | 浏览量:54049

图片来源于网络,如有侵权,请联系删除
证券之星消息,根据天眼查APP数据显示比亚迪(002594)新获得一项实用新型专利授权,专利名为“一种转向管柱、转向系统及车辆”,专利申请号为CN202421950968.6,授权日为2025年6月13日。
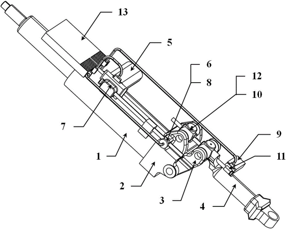
专利摘要:一种转向管柱、转向系统及车辆,通过其独特的可拆卸连接设计和转向轴的轴向转动能力,为车辆转向系统提供了更高的灵活性和稳定性。主体结构包括转向轴、万向节总成、连接件,连接件与万向节总成可拆卸连接,连接件构造为能够与沿转向轴的轴向转动多个不同角度的所述转向轴可拆卸连接。同时,这种设计也便于安装、维护和部件更换,降低了车辆维护的复杂性和成本。在现代汽车制造中,这种结构的应用有助于提升车辆的整体性能和驾驶体验。

图片来源于网络,如有侵权,请联系删除
今年以来比亚迪新获得专利授权2326个,较去年同期增加了87.13%。结合公司2024年年报财务数据,2024年公司在研发方面投入了531.95亿元,同比增34.42%。
数据来源:天眼查APP
以上内容为证券之星据公开信息整理,由AI算法生成(网信算备310104345710301240019号),不构成投资建议。
这里是分享代码,在后台添加
本文来源:财富通途网
本文地址:https://www.ibradsap.com/post/28965.html
关注我们:微信搜索“xiaoqihvlove”添加我为好友
版权声明:如无特别注明,转载请注明本文地址!
相关文章

