美盈森获得发明专利授权:“一种纸盒”
2025年06月14日 | 浏览量:74602

图片来源于网络,如有侵权,请联系删除
证券之星消息,根据天眼查APP数据显示美盈森(002303)新获得一项发明专利授权,专利名为“一种纸盒”,专利申请号为CN201911316213.4,授权日为2025年6月13日。
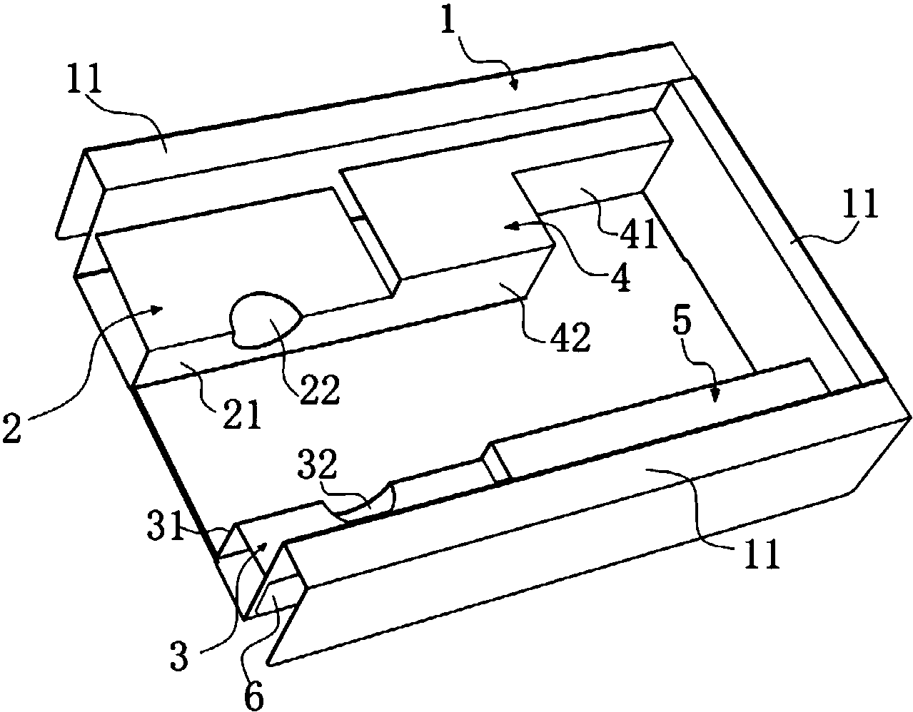
专利摘要:本发明公开了一种纸盒,涉及包装盒技术领域。该纸盒包括外盒和内盒,外盒内壁设置有第一抵接部,内盒通过外盒的开口以推拉方式滑动安装于外盒内,内盒的外壁设置有弹性凸出部。弹性凸出部能沿拉出方向与第一抵接部抵接,以使内盒和外盒处于锁定状态,实现纸盒的自锁。由于弹性凸出部为弹性变形结构,因此,在将内盒放进外盒里时,弹性凸出部自动与第一抵接部抵接,将内盒卡紧于外盒中。按压弹性凸出部时,弹性凸出部能与第一抵接部错开,以使内盒和外盒处于解锁状态,实现纸盒的解锁。此外,由于纸盒由全纸质制造,相比于使用五金件、塑料等材料制造的盒体,该纸盒便于回收,更为环保,同时减少了制造成本和人工组装成本,提高生产效率。

图片来源于网络,如有侵权,请联系删除
今年以来美盈森新获得专利授权16个,较去年同期增加了14.29%。结合公司2024年年报财务数据,2024年公司在研发方面投入了1.4亿元,同比增5.28%。
数据来源:天眼查APP
以上内容为证券之星据公开信息整理,由AI算法生成(网信算备310104345710301240019号),不构成投资建议。
本文来源:财富通途网
本文地址:https://www.ibradsap.com/post/28964.html
关注我们:微信搜索“xiaoqihvlove”添加我为好友
版权声明:如无特别注明,转载请注明本文地址!

