隆华科技获得实用新型专利授权:“一种用于管壳式换热器管束拆装及支撑的结构”
2025年06月10日 | 浏览量:67513

图片来源于网络,如有侵权,请联系删除
证券之星消息,根据天眼查APP数据显示隆华科技(300263)新获得一项实用新型专利授权,专利名为“一种用于管壳式换热器管束拆装及支撑的结构”,专利申请号为CN202422099033.8,授权日为2025年6月10日。
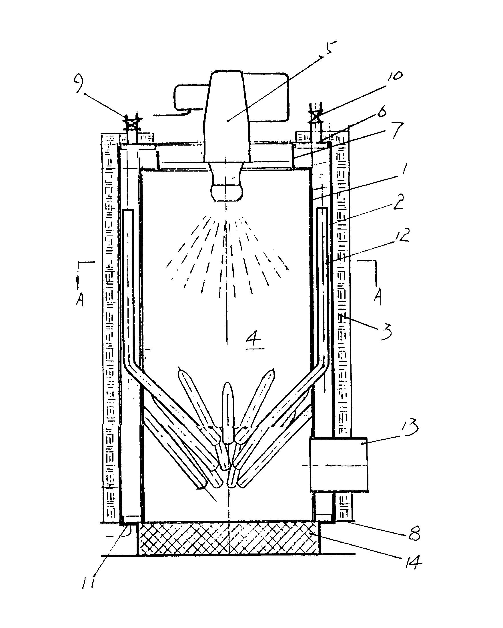
专利摘要:本实用新型公开了一种用于管壳式换热器管束拆装及支撑的结构,包括两个对称设置的支撑单元,支撑单元包括底座,底座的上部一侧设有支撑框,支撑框的上部卡装有支撑钢管一,支撑框的一侧铰接有活动框,活动框的上部卡装有支撑钢管二,活动框还设有调整其角度的调节组件;两个支撑单元的支撑框相对设置,且两个支撑单元的活动框位于支撑框的两侧。本实用新型操作安全、方便,省时省力,能够适用于不同规格的壳式换热器管束拆装的使用,保证了壳式换热器管束支撑、拆装要求,适合推广应用,解决了传统管壳式换热器管束拆装效率慢、无支撑易变形的难题,可以有效地提升管壳式换热器管束拆装的效率。

图片来源于网络,如有侵权,请联系删除
今年以来隆华科技新获得专利授权20个,较去年同期增加了33.33%。结合公司2024年年报财务数据,2024年公司在研发方面投入了1.25亿元,同比增7.9%。
数据来源:天眼查APP
以上内容为证券之星据公开信息整理,由AI算法生成(网信算备310104345710301240019号),不构成投资建议。
本文来源:财富通途网
本文地址:https://www.ibradsap.com/post/28510.html
关注我们:微信搜索“xiaoqihvlove”添加我为好友
版权声明:如无特别注明,转载请注明本文地址!

