海鸥住工获得实用新型专利授权:“水龙头台上安装装置”
2025年05月31日 | 浏览量:78475

图片来源于网络,如有侵权,请联系删除
证券之星消息,根据天眼查APP数据显示海鸥住工(002084)新获得一项实用新型专利授权,专利名为“水龙头台上安装装置”,专利申请号为CN202421910046.2,授权日为2025年5月30日。
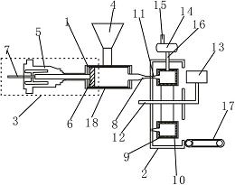
专利摘要:本实用新型公开了一种水龙头台上安装装置,包括:第一固定部件,其水平设置;第二固定部件,其设置在所述第一固定部件的下方,与所述第一固定部件平行设置;连接杆,其为弹性件,竖直设置,将所述第一固定部件和所述第二固定部件串接在一起;其中,调节所述连接杆与所述第二固定部件之间的角度使所述第二固定部件处于倾斜状态,从而所述第二固定部件能穿过水龙头台上的安装孔,当所述第二固定部件穿过所述安装孔位于水龙头所述安装孔的下方后,所述第二固定部件恢复到水平状态。本实用新型可以从台上快速安装水龙头安装装置,不需要人手伸到台下去锁紧螺母,方便快捷,省时省力。

图片来源于网络,如有侵权,请联系删除
今年以来海鸥住工新获得专利授权40个,较去年同期增加了37.93%。结合公司2024年年报财务数据,2024年公司在研发方面投入了9234.4万元,同比增1.38%。
数据来源:天眼查APP
以上内容为证券之星据公开信息整理,由AI算法生成(网信算备310104345710301240019号),不构成投资建议。
本文来源:财富通途网
本文地址:https://www.ibradsap.com/post/27840.html
关注我们:微信搜索“xiaoqihvlove”添加我为好友
版权声明:如无特别注明,转载请注明本文地址!

