楚天科技获得发明专利授权:“一种真空离心脱泡容器、脱泡装置及脱泡方法”
2025年05月24日 | 浏览量:63706

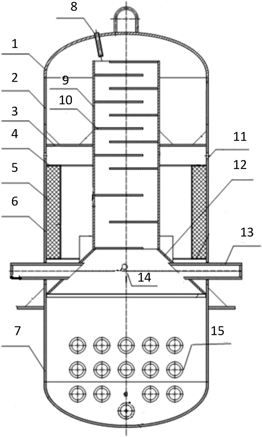
图片来源于网络,如有侵权,请联系删除
证券之星消息,根据天眼查APP数据显示楚天科技(300358)新获得一项发明专利授权,专利名为“一种真空离心脱泡容器、脱泡装置及脱泡方法”,专利申请号为CN202211420410.2,授权日为2025年5月23日。
专利摘要:本发明公开了一种真空离心脱泡容器、脱泡装置及脱泡方法,包括桶体,桶体内滑动设置有活塞,桶体连通有第二接头和第三接头,活塞上设有隔离阀,第二接头设于活塞的上方,第三接头设于活塞的下方,隔离阀通过活塞上下两侧的压力大小控制自身的通断,第二接头通过抽真空排气,第二接头外接压缩空气驱动活塞下移,第二接头内设有过滤器。与现有技术相比,本发明通过在第二接头内设置过滤器,实现真空离心脱泡的无菌性。其次,通过加压的方式驱动活塞下移排料,能够有效降低桶体自重,也使得桶体上的结构更为简单。第三,活塞上设有隔断阀,在加压时,活塞下方的药液和空气均不能流向活塞的上方,利于排干净药液和后期清洗。第四,能够接入灌装系统。
今年以来楚天科技新获得专利授权130个,较去年同期增加了23.81%。结合公司2024年年报财务数据,2024年公司在研发方面投入了6.25亿元,同比增6.41%。
数据来源:天眼查APP
以上内容为证券之星据公开信息整理,由AI算法生成(网信算备310104345710301240019号),不构成投资建议。
本文来源:财富通途网
本文地址:https://www.ibradsap.com/post/27393.html
关注我们:微信搜索“xiaoqihvlove”添加我为好友
版权声明:如无特别注明,转载请注明本文地址!

